2019年02月27日 17:23:14
ABBA直线导轨

成立于1999年,是台湾第一家拥有四排珠自润专利并实际导入量产的线性滑轨专业制造商。国际直线科技积累十多年精密滚珠螺杆的制造经验,掌握核心关键技术,顺利与2000年实现量产。并获得多项世界专利。产品经销台湾,大陆,韩国,日本,欧美等地。
ABBA致力于提供全方位解决方案帮助伙伴迈向成功,并于品质、工程能力和提供经销商服务各方面秉持着一贯的高水準,期许和您建立长久的合作伙伴关係,长此以往,已在世界各地赢得客户的认可和信任!
ABBA直线导轨经典系列
线性滑轨 标准规格BR-R0系列
线性滑轨 加长型BR-LR系列
线性滑轨 低组装型 BR-SU系列
线性滑轨BR-U0系列
线性滑轨BR-A0系列
线性滑轨BR-LA系列
ABBA直线导轨 产品特性

四方向等负载设计
运行顺畅新型钢珠循环方式
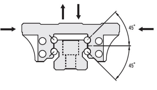
高刚性-四排珠45度角接触
免保养,低维修,无须润滑管路系统与设备
世界规格标準尺寸
可互换式设计
高精度,低摩擦係数,低维修成本
高移动速度,低噪音
全密封式油封
绿色环保产品
ABBA直线导轨 最新价格:

最新价格查询网址:https://www.vipmro.com/ss/b-2000
ABBA直线导轨其他型号产品
ABBA(国际直线科技) 互换型滑块;BRC15-U0Z1-N0S
ABBA(国际直线科技) 互换型滑块;BRC20-A0Z1-N0S
ABBA(国际直线科技) 互换型滑块;BRC25-A0Z1-N0S
这里只是部分产品,工品汇一直有售ABBA全系列产品:ABBA直线导轨、ABBA滑块等,更多ABBA直线导轨还请咨询客服。





